Bine ați venit!
  • Acasă +
  • |
  • |

Filtre

Filet

Voltaj

  • V
  • V
  • V
  • V

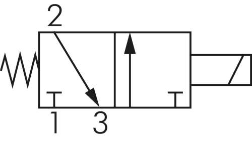
Valve 3/2,Seria MS